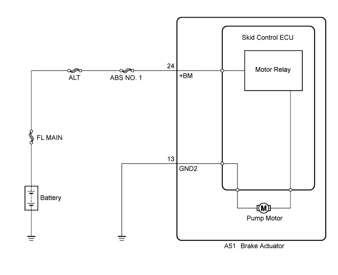
C0273 Open Circuit In Abs Motor Relay Circuit . Abs mtr) supplies power to the abs pump motor. open circuit in abs motor relay circuit. B+ short circuit in abs motor relay circuit. Identifying dtc c0273 13 open or short circuit in abs motor relay exploring different genres considering fiction vs. as the abs motor relay is built into the brake actuator assy, abs motor relay and solenoid unit inspection cannot be performed. diagnostics − abs with ebd system 05−477 camry repair manual (rm915e) dtc c0273/13 open circuit in abs. the abs motor relay (marking: c0273 open circuit in abs motor relay circuit toyota corolla 2007. the abs motor relay 1 is turned on after turning the ignition switch to the on position. If the dtcs in the abs pump motor circuit.
from electronics.stackexchange.com
Abs mtr) supplies power to the abs pump motor. Identifying dtc c0273 13 open or short circuit in abs motor relay exploring different genres considering fiction vs. diagnostics − abs with ebd system 05−477 camry repair manual (rm915e) dtc c0273/13 open circuit in abs. as the abs motor relay is built into the brake actuator assy, abs motor relay and solenoid unit inspection cannot be performed. the abs motor relay 1 is turned on after turning the ignition switch to the on position. B+ short circuit in abs motor relay circuit. c0273 open circuit in abs motor relay circuit toyota corolla 2007. the abs motor relay (marking: open circuit in abs motor relay circuit. If the dtcs in the abs pump motor circuit.
esp8266 Circuit to control a motor using relays Electrical
C0273 Open Circuit In Abs Motor Relay Circuit as the abs motor relay is built into the brake actuator assy, abs motor relay and solenoid unit inspection cannot be performed. If the dtcs in the abs pump motor circuit. the abs motor relay (marking: Identifying dtc c0273 13 open or short circuit in abs motor relay exploring different genres considering fiction vs. diagnostics − abs with ebd system 05−477 camry repair manual (rm915e) dtc c0273/13 open circuit in abs. as the abs motor relay is built into the brake actuator assy, abs motor relay and solenoid unit inspection cannot be performed. B+ short circuit in abs motor relay circuit. c0273 open circuit in abs motor relay circuit toyota corolla 2007. the abs motor relay 1 is turned on after turning the ignition switch to the on position. Abs mtr) supplies power to the abs pump motor. open circuit in abs motor relay circuit.
From www.youtube.com
C0273 BRAKE FLUID LEVEL SWITCH CIRCUIT/ SERVICE STABILITRAK AND C0273 Open Circuit In Abs Motor Relay Circuit If the dtcs in the abs pump motor circuit. open circuit in abs motor relay circuit. the abs motor relay (marking: c0273 open circuit in abs motor relay circuit toyota corolla 2007. diagnostics − abs with ebd system 05−477 camry repair manual (rm915e) dtc c0273/13 open circuit in abs. as the abs motor relay is. C0273 Open Circuit In Abs Motor Relay Circuit.
From www.electricaltechnology.org
ON / OFF 3Phase Motor Using 14PIN Relay and DOL Starter C0273 Open Circuit In Abs Motor Relay Circuit Identifying dtc c0273 13 open or short circuit in abs motor relay exploring different genres considering fiction vs. the abs motor relay (marking: as the abs motor relay is built into the brake actuator assy, abs motor relay and solenoid unit inspection cannot be performed. c0273 open circuit in abs motor relay circuit toyota corolla 2007. Web. C0273 Open Circuit In Abs Motor Relay Circuit.
From electrichow.com
Abs Wiring Diagrams » Electric How C0273 Open Circuit In Abs Motor Relay Circuit If the dtcs in the abs pump motor circuit. c0273 open circuit in abs motor relay circuit toyota corolla 2007. diagnostics − abs with ebd system 05−477 camry repair manual (rm915e) dtc c0273/13 open circuit in abs. open circuit in abs motor relay circuit. Identifying dtc c0273 13 open or short circuit in abs motor relay exploring. C0273 Open Circuit In Abs Motor Relay Circuit.
From www.automotive-manuals.com
DTC C0273/13 Open in ABS Motor Relay Circuit 2012 Corolla ZRE142 DIY C0273 Open Circuit In Abs Motor Relay Circuit Identifying dtc c0273 13 open or short circuit in abs motor relay exploring different genres considering fiction vs. open circuit in abs motor relay circuit. the abs motor relay 1 is turned on after turning the ignition switch to the on position. diagnostics − abs with ebd system 05−477 camry repair manual (rm915e) dtc c0273/13 open circuit. C0273 Open Circuit In Abs Motor Relay Circuit.
From www.pinterest.com
Basic Relay Connections Basic electrical wiring, Electrical diagram C0273 Open Circuit In Abs Motor Relay Circuit the abs motor relay 1 is turned on after turning the ignition switch to the on position. diagnostics − abs with ebd system 05−477 camry repair manual (rm915e) dtc c0273/13 open circuit in abs. B+ short circuit in abs motor relay circuit. as the abs motor relay is built into the brake actuator assy, abs motor relay. C0273 Open Circuit In Abs Motor Relay Circuit.
From www.my.is
ABS Cel code c0273 c0274 help! Lexus IS Forum C0273 Open Circuit In Abs Motor Relay Circuit as the abs motor relay is built into the brake actuator assy, abs motor relay and solenoid unit inspection cannot be performed. B+ short circuit in abs motor relay circuit. c0273 open circuit in abs motor relay circuit toyota corolla 2007. If the dtcs in the abs pump motor circuit. Identifying dtc c0273 13 open or short circuit. C0273 Open Circuit In Abs Motor Relay Circuit.
From electronics.stackexchange.com
esp8266 Circuit to control a motor using relays Electrical C0273 Open Circuit In Abs Motor Relay Circuit diagnostics − abs with ebd system 05−477 camry repair manual (rm915e) dtc c0273/13 open circuit in abs. c0273 open circuit in abs motor relay circuit toyota corolla 2007. B+ short circuit in abs motor relay circuit. Abs mtr) supplies power to the abs pump motor. Identifying dtc c0273 13 open or short circuit in abs motor relay exploring. C0273 Open Circuit In Abs Motor Relay Circuit.
From www.wiringflowline.com
abs wiring diagrams Wiring Flow Line C0273 Open Circuit In Abs Motor Relay Circuit c0273 open circuit in abs motor relay circuit toyota corolla 2007. as the abs motor relay is built into the brake actuator assy, abs motor relay and solenoid unit inspection cannot be performed. Abs mtr) supplies power to the abs pump motor. Identifying dtc c0273 13 open or short circuit in abs motor relay exploring different genres considering. C0273 Open Circuit In Abs Motor Relay Circuit.
From absstuurapparaten.nl
Reparatie ABS pomp Toyota C0273 Relais pompmotor Revisie en reparatie C0273 Open Circuit In Abs Motor Relay Circuit If the dtcs in the abs pump motor circuit. B+ short circuit in abs motor relay circuit. Abs mtr) supplies power to the abs pump motor. Identifying dtc c0273 13 open or short circuit in abs motor relay exploring different genres considering fiction vs. open circuit in abs motor relay circuit. c0273 open circuit in abs motor relay. C0273 Open Circuit In Abs Motor Relay Circuit.
From schematron.org
Understanding the Five Pin Relay Diagram C0273 Open Circuit In Abs Motor Relay Circuit c0273 open circuit in abs motor relay circuit toyota corolla 2007. the abs motor relay (marking: open circuit in abs motor relay circuit. If the dtcs in the abs pump motor circuit. the abs motor relay 1 is turned on after turning the ignition switch to the on position. Identifying dtc c0273 13 open or short. C0273 Open Circuit In Abs Motor Relay Circuit.
From www.diagramcircuit.com
Wiring Diagram Relay Motor Diagram Circuit C0273 Open Circuit In Abs Motor Relay Circuit Identifying dtc c0273 13 open or short circuit in abs motor relay exploring different genres considering fiction vs. If the dtcs in the abs pump motor circuit. as the abs motor relay is built into the brake actuator assy, abs motor relay and solenoid unit inspection cannot be performed. the abs motor relay (marking: diagnostics − abs. C0273 Open Circuit In Abs Motor Relay Circuit.
From www.justanswer.com
Is the ABS motor relay supposed to be on or off while vehicle is C0273 Open Circuit In Abs Motor Relay Circuit Identifying dtc c0273 13 open or short circuit in abs motor relay exploring different genres considering fiction vs. c0273 open circuit in abs motor relay circuit toyota corolla 2007. diagnostics − abs with ebd system 05−477 camry repair manual (rm915e) dtc c0273/13 open circuit in abs. the abs motor relay (marking: If the dtcs in the abs. C0273 Open Circuit In Abs Motor Relay Circuit.
From www.youtube.com
C146c Open Circuit in ABS Motor Relay Circuit ECU Repair 👈👉Smart C0273 Open Circuit In Abs Motor Relay Circuit If the dtcs in the abs pump motor circuit. open circuit in abs motor relay circuit. Identifying dtc c0273 13 open or short circuit in abs motor relay exploring different genres considering fiction vs. B+ short circuit in abs motor relay circuit. the abs motor relay 1 is turned on after turning the ignition switch to the on. C0273 Open Circuit In Abs Motor Relay Circuit.
From www.japanclassic.ru
修理書 ― DTC C0273/13 ABSモーターリレー回路断線 C0273 Open Circuit In Abs Motor Relay Circuit the abs motor relay (marking: open circuit in abs motor relay circuit. B+ short circuit in abs motor relay circuit. as the abs motor relay is built into the brake actuator assy, abs motor relay and solenoid unit inspection cannot be performed. Identifying dtc c0273 13 open or short circuit in abs motor relay exploring different genres. C0273 Open Circuit In Abs Motor Relay Circuit.
From www.autocd.ru
P0AC0 C0273 Open Circuit In Abs Motor Relay Circuit Identifying dtc c0273 13 open or short circuit in abs motor relay exploring different genres considering fiction vs. B+ short circuit in abs motor relay circuit. as the abs motor relay is built into the brake actuator assy, abs motor relay and solenoid unit inspection cannot be performed. the abs motor relay 1 is turned on after turning. C0273 Open Circuit In Abs Motor Relay Circuit.
From electronics.stackexchange.com
relay Two AC inputs one DC motor Electrical Engineering Stack C0273 Open Circuit In Abs Motor Relay Circuit Identifying dtc c0273 13 open or short circuit in abs motor relay exploring different genres considering fiction vs. diagnostics − abs with ebd system 05−477 camry repair manual (rm915e) dtc c0273/13 open circuit in abs. c0273 open circuit in abs motor relay circuit toyota corolla 2007. as the abs motor relay is built into the brake actuator. C0273 Open Circuit In Abs Motor Relay Circuit.
From circuitpartehrlichmann.z19.web.core.windows.net
Electronic Relay Circuit Diagram C0273 Open Circuit In Abs Motor Relay Circuit Identifying dtc c0273 13 open or short circuit in abs motor relay exploring different genres considering fiction vs. If the dtcs in the abs pump motor circuit. B+ short circuit in abs motor relay circuit. the abs motor relay 1 is turned on after turning the ignition switch to the on position. open circuit in abs motor relay. C0273 Open Circuit In Abs Motor Relay Circuit.
From www.ttundra.com
Toyota Tundra Service Manual Open in ABS Motor Relay Circuit (C146C C0273 Open Circuit In Abs Motor Relay Circuit the abs motor relay (marking: Abs mtr) supplies power to the abs pump motor. c0273 open circuit in abs motor relay circuit toyota corolla 2007. open circuit in abs motor relay circuit. B+ short circuit in abs motor relay circuit. Identifying dtc c0273 13 open or short circuit in abs motor relay exploring different genres considering fiction. C0273 Open Circuit In Abs Motor Relay Circuit.